防爆儲罐清污裝置包括有氣動隔膜泵、自動清洗過濾器和清污容器以及噴油管和吸油管;氣動隔膜泵、自動清洗過濾器和清污容器安裝在手推車的平板上,噴油管和吸油管設置在防爆儲罐內;氣動隔膜泵進油口通過軟膠管連接吸油管出油口,自動清洗過濾器出油口通過軟膠管連接噴油管的進油口,氣動隔膜泵與吸油管以及自動清洗過濾器與噴射管的進出油口連接的快速接頭均為陰、陽接頭。氣動隔膜泵出油口與自動清洗過濾器進油口由軟膠管相連接,自動清洗過濾器下端油污出口通過軟膠管通入到清污容器內。
所述的噴油管由噴射豎管和噴射橫管構成,噴射豎管和噴射橫管構成T型結構,均由Φ50毫米的不銹鋼管制成。在噴射豎管的外部設置有同心軸吸油管,吸油管采用Φ100毫米的不銹鋼管。噴射豎管的上端口穿過吸油管側壁以及吸油管的上端口分別通過法蘭連接有快速接頭,噴射豎管和吸油管穿過防爆儲罐的清污隧道,吸油管未端設置有擴張形吸油口,吸油口在清污隧道內,噴射豎管與設置在清污隧道內噴射橫管正交焊接為一體。
所述的噴油橫管每間隔300-500毫米位置設置一噴油口,第一位置的噴油口設置在噴油橫管的底部,相繼第二噴油口位置設置在噴油橫管的側壁上有兩個對稱,如此交錯設置,噴油口直徑為Φ20毫米。噴射橫管的外部焊有三個卡箍,卡箍下支腳座落在防爆儲罐的罐底。
所述的噴射豎管和吸油管為平行設置,中間有卡箍連接。
所述的手推車平板是由槽鋼焊接成長方形框體,中間有加強筋,框體上鋪設有波紋鋼板,側壁焊有∏型手推柄,下部設有前、后滑輪,兩前輪為萬向輪,轉彎自由。
氣動隔膜泵氣源是由空氣壓縮機提供的,空氣壓縮機電源是由在手推車上設置的電器控制柜提供的。自動清洗過濾器的電機動力由電器控制柜提供的。
所述的清污容器為手提小桶。
本清污裝置是專門為防爆儲罐配置的特殊清污設備,它解決了目前防爆儲罐內的油污難易清洗的難題。本裝置的清污措施是借用防爆儲罐內儲存一定量的介質(原防爆儲罐內儲存的介質,如汽油或柴油等),在防爆儲罐內該清污裝置營造出使防爆儲罐內的介質形成流動,它將使與防爆儲罐內的油污進行混合形成混合流,此混合流攜同油污被氣動隔膜泵抽吸到罐外,再通過自動清洗過濾器進行過濾,實現油、污分離,分離的清潔油又被送到防爆儲罐的清污隧道內形成不間斷的混合流。本裝置在清污隧道內設置噴射管和吸引管目的是,將引入清潔介質來驅使多年沉積的油污流動從而形成混合流;這樣清潔油介質不斷的輸送給清污隧道使油污形成混合流、又不斷地被抽吸到罐外進行油、污分離,直到防爆儲罐內的污泥被清除干凈為止。
為實現上述清污處理不可缺少的條件是:在防爆儲罐內必須保存有一定量的原有介質,方能形成循環介質的流動。經試驗表明,在防爆儲罐內保留1/4-1/5容積的儲存介質。
本裝置的另一個特點是:在防爆儲罐內促使油、污大循環的吸油管和噴射管應事先(即對儲罐進行阻隔防爆技術改造時)安裝在防爆儲罐內。在對防爆儲罐進行清洗時,可大大簡化操作過程和清洗時間。這里要說明的是:在儲油罐進行阻隔防爆技術改造時,吸油管和噴射管連接的快速接頭最好靠近防爆儲罐人孔蓋的下部位置,方便與罐外的清污設備連接。
裝置的優點在于:
1、本裝置的清污機理是采用物理清污方法進行的。清污使用的介質為原防爆儲罐儲存的介質,由介質攜帶油污被輸送到自動清洗過濾器進行油、污分離。不是采用化學的手段,不用乳化劑(溶解劑)對油污進行溶解、稀釋,不進行二次溶解劑與油污的分離(還有大量水分離等)。由此本裝置大大簡化清污的過程和時間,節約成本,環保、不污染空氣。
2、本裝置采用的氣動隔膜泵是由壓縮空氣作為動力的,不會產生電火花,作業安全。由于隔膜泵輸送液體的粘度較為廣泛,可通過直徑為10毫米以下的顆粒,通過性能好,且隔膜泵輸送的介質與傳動機械件分開,介質不會泄露,對輸送易燃、易爆介質安全、可靠。
3、本裝置采用自動清洗過濾器的過濾網為兩層:粗濾網+細濾網,油泥顆粒為0.02毫米的污泥就能被截留下來,過濾效果好。尤其當其出現進口表壓大于出口表壓時,自動清洗過濾器的反沖電機啟動,將對附著在過濾網上的油泥強行排出,清洗程度高。
4、本裝置的結構布局合理,投資小,見效快。
5、本裝置專門為這一特殊結構的防爆儲罐進行研制的清污設備。它解決防爆儲罐內沉積油污的清污技術難關,它為阻隔防爆技術推進到一個新的技術階段,它是目前國內進行阻隔防爆技術改造的又一次革命。
本發明還涉及到借用防爆儲罐內儲存的介質進行循環式清污的方法是:
1、開啟人孔蓋,用防爆工具拆卸人孔蓋及相關管路、法蘭、螺絲等,將拆卸的管路,用盲板盲住。
2、依次取出豎井內的吸油管和噴射管防護筒以及豎井內遮擋吸油管和噴射管快速接頭附近的防爆材料,取防爆材料時應使用專用工具。
3、將連接有氣動隔膜泵進油口的軟膠管的快速接頭和連接有自動清洗過濾器出油口軟膠管的快速接頭分別與吸油管和噴射管口的快速接頭對接。
4、開始啟動循環清洗作業:
4.1接通外接電源,電器控制柜給電;
4.2啟動空氣壓縮機,待壓縮機儲氣罐壓力達到0.6Mpa時,打開空氣壓縮機的出氣閥門;
4.3緩慢開啟隔膜泵進氣閥,不可突然將閥門全部打開,防止損壞泵膜;
4.4氣動隔膜泵在抽吸過程中,隨時進行觀測并監視從防爆儲罐內抽吸出來油污狀況。
4.5當自動清洗過濾器的進口表壓大于出口表壓時,應進行排污作業,具體操作步驟如下:
(1)關閉氣動隔膜泵的進氣閥,氣動隔膜泵停止工作;
(2)關閉自動清洗過濾器的進、出口閥門;
(3)開啟過濾電機;
(4)3-5秒后,打開過濾器排污閥,將污油排放在清污容器內;
(5)排污結束后,關閉排污閥;
(6)打開自動清洗過濾器的進、出口閥門;緩慢打開氣動隔膜泵的進氣閥,重新進行循環清洗作業。
5、隨時檢查清洗效果,自動清洗過濾器的進口處提取樣品,通過觀察樣品的純凈度及懸浮物等,檢查防爆儲罐的清污狀況。
6、確認清洗效果達到標準時,停止清洗作業。
7、拆卸與氣動隔膜泵和自動清洗過濾器與噴射管和吸油管連接的快速接頭,在撤出快速接頭之前,應要將管內殘油排出干凈。
8、安裝噴射管和吸油管外設的護筒及防爆材料。
9、安裝防爆儲罐的人孔蓋,撤除盲板,連接好各管路,現場恢復到作業前狀態。
本清污方法的優點在于:
1、此清污手段是使用原防爆儲罐儲存的介質,用此介質攜帶的油污被輸送到自動清洗過濾器進行油污分離,大大節約成本,簡化過程,節省時間,環保、不污染空氣。
2、本清污使用的設備如氣動隔膜泵的動力源為壓縮空氣,不會產生電火花,隔膜泵輸送的介質與傳動機械件分開,介質不會泄露,對輸送易燃、易爆油、氣十分安全,可靠。本清污設備使用的自動清洗過濾器過濾效果好。
3、本清污方法適應于大型油庫的儲罐清污處理,特別是經過阻隔防爆技術改造的油庫,只要將本裝置的噴射管和吸油管預先安裝在油罐內,即可進行清污作業,大大節約成本,減輕勞動強度。
附圖說明

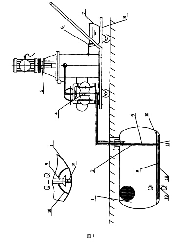
圖1為整體結構示意圖及Q-Q剖視圖;

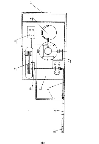
圖2為圖1的俯視結構示意圖;

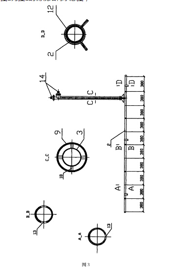
圖3為噴射管和吸油管的組合結構示意圖及其A-A,B-B,C-C,D-D剖面示意圖。
其1防爆儲罐,2噴射橫管,3噴射豎管,4氣動隔膜泵,5自動清洗過濾器,6軟膠管,7清污容器,8手推車,9吸油管,10清污隧道,11吸油口,12卡箍,13噴油口,14快速接頭,15空氣壓縮機,16電器控制柜,17手推柄,18筋,19高壓氣管。
具體實施方式
本防爆儲罐的清污裝置包括有氣動隔膜泵4、自動清洗過濾器5和清污容器7以及噴油管和吸油管9。氣動隔膜泵4、自動清洗過濾器5和清污容器7安裝在手推車8平板上,噴油管和吸油管9設置在埋地式防爆儲罐1內。氣動隔膜泵4的進油口通過軟膠管6連接吸油管9的出油口,自動清洗過濾器5出油口通過軟膠管6連接噴油管的進油口,氣動隔膜泵4的進油口和自動清洗過濾器5出油口與噴射管和吸油管連接的快速接頭14均為陰、陽快速接頭。氣動隔膜泵4出油口與自動清洗過濾器5進油口通過軟膠管6相連接,自動清洗過濾器5下端油污出口經軟膠管6通入到清污容器7內。
本裝置采用的氣動隔膜泵4型號為WILDEN PV 800(口徑為2″)。該氣動隔膜泵是由一種由膜片往復變形造成容積變化的容積泵,它是由空氣壓縮機的壓縮空氣作為動力的,不會產生電火花;同時,隔膜泵輸送的介質與傳動機械件分開,傳送的介質不會泄露,對輸送易燃、易爆油、氣介質是十分安全的。氣動隔膜泵4最大輸送流體的流量為155GPM(587LPM),最大的工作壓力為125PSI(8.6Bar)。該隔膜泵輸送液體的粘度較為廣泛,可通過最大直徑為10毫米以下的顆粒,通過性能好,因此在危化品的油、氣輸送泵大都采用氣動隔膜泵。
本裝置采用自動清洗過濾器5型號為XL-SQ-50。自動清洗過濾器5由過濾器本體、過濾網、沖洗閥及沖洗控制器等組成。防爆儲罐內的油污混合流體經氣動隔膜泵輸送到自動清洗過濾器進行過濾,首先通過粗濾網,然后再進入細濾網,油泥由此將被截留下來。本自動清洗過濾器的粗濾網選為80目,細濾網采用120目,過濾效果好。尤其是大量油泥集聚在細濾網上時,使濾網的內表面與外表面形成壓差,即設備在出現進口表壓大于出口表壓時,就要進行排污作業;啟動自動清洗過濾器的反沖過濾電機(功率為0.55kw),產生一股吸力強勁的反沖力,過濾器上的吸嘴將附著濾網上的油污跡吸下來沉積在底部,并由閥門將污泥排出。
所述的噴油管由噴射豎管3和噴射橫管2構成,噴射豎管3和噴射橫管2構成T型管,管徑均由Φ50毫米的不銹鋼管制成。在噴射豎管3的外部設置有同心的吸油管9,吸油管9采用Φ100毫米的不銹鋼管。噴射豎管3與吸油管9之間連接有筋18。噴射豎管3上端口穿過吸油管9側壁以及吸油管9的上端口通過法蘭分別連接有快速接頭14,噴射豎管3和吸油管9設有卡箍與豎井的框架相固定。噴射豎管3和吸油管9下端同時穿過清污隧道10的管壁,噴射豎管3下端與噴射橫管2正交連接,且噴射豎管3和吸油管9中間有法蘭連接,便于安裝。
噴射橫管2設置在清污隧道10內,在吸油管9的未端連接有擴張形吸油口11,吸油口11設在清污隧道10內。
為了便于加工,所述的噴射豎管3和吸油管9可設置為兩條平行管,兩支管之間設有卡箍相連接并與防爆儲罐內設置豎井的框架相固定,其下端同時穿過防爆儲罐內的清污隧道10,清污隧道10起到固定效果。
本裝置的吸油管9和噴射管應事先安裝在埋地式防爆儲罐1內,這樣在進行清洗時,可大大簡化操作過程和清洗時間。在對儲油罐進行阻隔防爆技術改造同時,吸油管9和噴射管同時安裝在防爆儲罐1內,吸油管9和噴射豎管3的外部有中孔板圍成的護筒,護筒外有防爆材料(護筒附圖未顯示)。吸油管9和噴射管3連接的快速接頭14應靠近防爆儲罐1的人孔蓋下部位置,將大大方便快速接頭的連接。
所述的噴油橫管2每間隔300-500毫米的位置設置有一噴油口13(本附圖給出每380毫米設置一噴油口或一對噴油口)。第一位置的噴油口13設置在噴油橫管2的底部,相繼第二位置的噴油口13設置噴油橫管2的側壁上,為兩個對稱的噴油口13,如此交錯布置,噴油口直徑選為Φ20毫米。在噴射橫管2三個不同位置焊有卡箍12,卡箍12下支腳座落在防爆儲罐1的罐底上;交錯設計噴油口13的位置,其目的在于增強清污隧道10內清潔油攪動油泥的沖力并形成油、污混合流,同時又吸油管9受到氣動隔膜泵4的吸力,迫使清污隧道10內油、污混合流的流動。
手推車8平板是由槽鋼焊接長方形框體,長度為1.5米×1.0米,中間有加強筋,框體上鋪設有波紋鋼板,側壁焊有∏型手推柄17,下部設有前、后滑輪,兩前輪為萬向輪,轉彎自由。
氣動隔膜泵4氣源由空氣壓縮機15提供的,空氣壓縮機15的電源是由手推車8上設置的電器控制柜16提供的;同樣,自動清洗過濾器5電機動力也是由電器控制柜16提供的。
所述的清污容器7為手提小桶。當油泥堆滿時,可方便地倒入在油泥收集器,一同送往收集站進行處理。
噴油橫管2長度是根據不同容積防爆儲罐1的罐體長度(除去封頭)來決定的;例如罐容為20M3的防爆儲罐(罐體直徑為2.5米),噴油橫管的長度為3.8米;罐容為50M3的防爆儲罐(罐體直徑為2.5米),噴油橫管的長度為9.8米。噴油橫管2在防爆儲罐內進行安裝時,由于受到罐體人孔尺寸的限制,可將噴油橫管2分段加工,現場組裝。
對于已經進行阻隔防爆技術改造的防爆儲罐,罐內沒有噴射管和吸油管的情況下,要進行現場安裝。
安裝過程是這樣的:
預先得知防爆儲罐內的存儲油(介質)使用底線(即加油機抽不到油為止,如25M3的防爆儲汽油罐,剩余油量約為0.8M3)。此時打開防爆儲罐1人孔蓋,將豎井內的防爆材料和豎井下部的清污隧道10移出罐外;將吸油管9(最好使用單個吸油管)插入到清污隧道10內,啟動氣動隔膜泵4將清污隧道10內剩余油污輸送給自動清洗過濾器5進行過濾,過濾后的清潔油不送回防爆儲罐,另外儲存到容器內,直到將清污隧道內的油污抽完為止。然后將設計多段的噴射橫管2放入到清污隧道10內。由于豎井的尺寸有限,噴射橫管2中間設計為能通過豎井放入到清污隧道10內為好,其余兩段或多段的噴射橫管與中間段噴射橫管用對接管頭對接一體,并用卡箍固定好清污隧道10內,再將噴射豎管2和吸油管9與其連接(如使用同心的噴射豎管3和吸油管9是應將單個吸油管取出),并將與豎井固定好,同心的噴射豎管3和吸油管9快速接頭14應由盲板保護。這里說明的是同心設置的噴射管和吸油管只是安裝到位,為下一次清污作業使用的。
本發明還提供借用防爆儲罐內儲存的介質進行循環式清污的方法,在進行對防爆儲罐進行清污作業時,首先要檢查防爆儲罐內的儲存油量必須保留1/4-1/5容積;再則氣動隔膜泵4和自動清洗過濾器5的快速接頭與吸油管9和噴射管快速接頭聯通后,必須檢查各管路的密封性能,無油、氣泄露,方可作業,目的確保施工作業、環境的安全。
本裝置借用防爆儲罐內儲存的介質進行循環式清污的方法是:
1、開啟防爆儲罐1的人孔蓋,用防爆工具拆卸人孔蓋及相關管路、法蘭、螺絲等,將拆卸的管路,用盲板盲住。
2、依次取出吸油管9和噴射豎管3外的防護筒和防爆材料,取出吸油管和噴射管口快速接頭14的盲板。
3、將氣動隔膜泵4進油口軟膠管的快速接頭及自動清洗過濾器5出油口的快速接頭分別與吸油管9和噴射豎管3的快速接頭相對接,同時檢查各油管路連接處的密封性能(這里吸油管和噴射管口的快速接頭已經安裝在防爆儲罐內)。
4、開始啟動循環清洗作業
4.1接通外接電源,電器控制柜16給電;
4.2啟動空氣壓縮機15,待壓縮機儲氣罐壓力達到0.6Mpa時,打開空氣壓縮機的出氣閥門經高壓氣管19給氣動隔膜泵4送氣。
4.3緩慢開啟氣動隔膜泵4進氣閥,不可突然將閥門全部打開,防止損壞泵膜。
4.4氣動隔膜泵4工作,并進行抽吸防爆儲罐內的油、污,這時氣動隔膜泵4抽出來是油介質(沒有油泥),該介質輸送到自動清洗過濾器5時,還沒有油泥出現,待將此介質經噴射管由噴射管口13噴出時,將攪動油、污的流動形成混合流,混合流攜同油污被氣動隔膜泵4抽吸并通過自動清洗過濾器5進行過濾,實現油、污分離,分離出來的清潔油又被送到防爆儲罐的清污隧道5內。油污排除狀況應隨時監視油污混合流渾濁程度。
4.5當自動清洗過濾器5的進口表壓大于出口表壓時,進行排污作業。具體操作步驟如下:
(1)關閉氣動隔膜泵4的進氣閥,此氣動隔膜泵4停止工作;
(2)關閉自動清洗過濾器5的進、出口閥門;
(3)開啟過濾電機;啟動自動清洗過濾器的反沖電機,由過濾器的吸嘴將附著濾網上的油污跡吸下來,并積聚在下部存儲器內;
(4)待3-5秒后,打開過濾器排污閥,將污油排放在清污容器7內;
(5)排污結束后,關閉排污閥。
4.6重新打開自動清洗過濾器5的進、出口閥門。
4.7緩慢打開氣動隔膜泵4的進氣閥,重新進行油污循環清洗作業。
5、隨時檢查清洗效果,打開自動清洗過濾器5設置的閥門,用取樣管提取樣品,通過觀察樣品的純凈度及懸浮物等,檢查防爆儲罐內抽吸出來的油污清晰狀況,可與原油品介質對比,或進行快速檢測從而確定防爆儲罐內的油污狀態。
6、確認清洗效果達到標準后,停止清洗作業。
7、拆卸與氣動隔膜泵4和自動清洗過濾器5與噴射管和吸油管連接的快速接頭14,在撤出快速接頭之前,應要將管內殘油排出干凈。
8、安裝噴射管和吸油管外設的護筒及防爆材料。
9、安裝防爆儲罐的人孔蓋,撤除盲板,連接好各管路,現場恢復到作業前狀態。
產品推薦:
管道排污泵 http://m.rzxyyy.cn/productshow_22.html
|